因医院发展需要,现面向社会公开招聘编外工作人员,现将应聘条件、招聘岗位、人数及要求公告如下:
一、应聘基本条件
(一)应聘人员应同时具备的条件:
1.热爱社会主义祖国,拥护中华人民共和国宪法,拥护中国共产党,遵纪守法,品行端正,有良好的职业道德,爱岗敬业,事业心和责任感强。
2.身心健康,具有正常履行招聘岗位职责的身体条件。
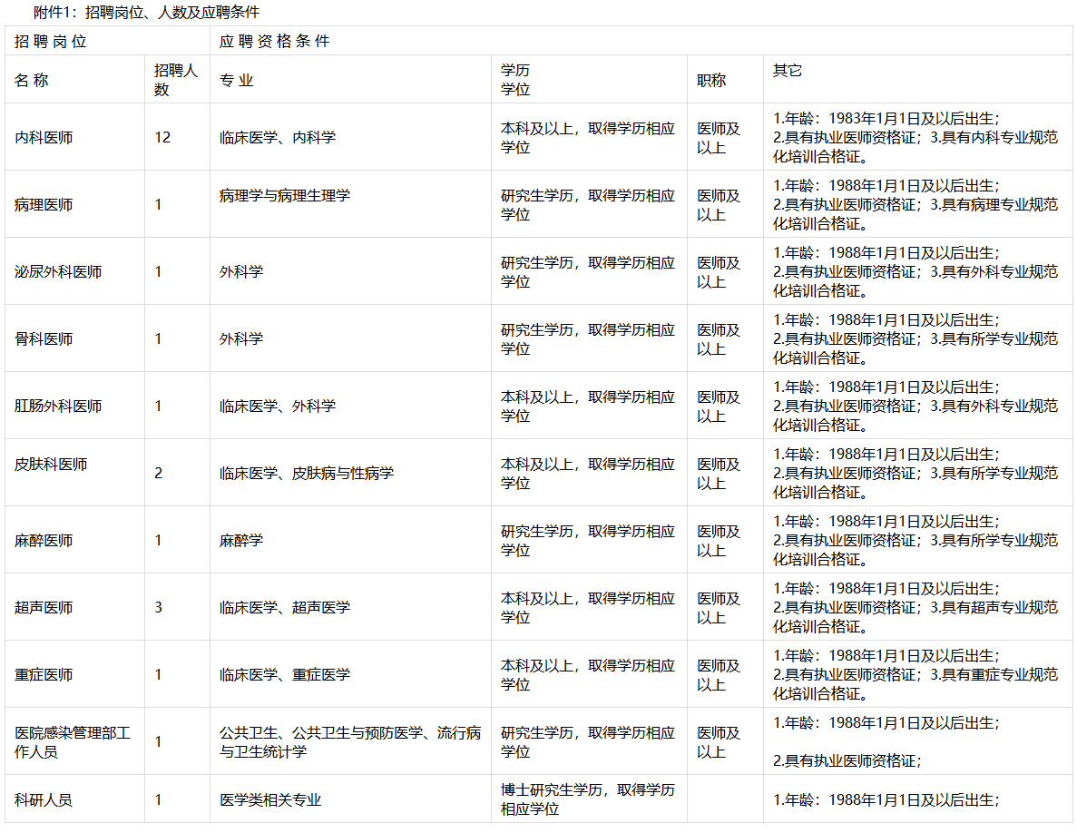
3.符合招聘岗位确定的其他条件(详见附件1)。
4.委培、定向应届毕业生,须征得原委培、定向单位同意。
5.符合《事业单位人事管理回避规定》(人社部规〔2019〕1号)有关回避的规定。
(二)有下列情况之一者,不得应聘:
1.曾受过各类刑事处罚的。
2.曾被开除中共党籍、开除公职的。
3.有违法、违纪行为正在接受审查的。
4.党纪处分尚在影响期、政纪处分尚未解除的。
5.尚处于试用期内的新录用公务员、参公人员(截止时间公告发布当日)。
6.按照《关于加快推进失信被执行人信用监督、警示和惩戒机制建设的意见》规定,由人民法院通过司法程序认定的失信被执行人。
7.有违反其它规定不适宜报考事业单位的。
8.2023年7月31日之后未毕业仍然在读的高校生。
二、招聘岗位、人数及应聘要求(详见附件1)
三、报名及资格审查时间:2023年8月21日-8月25日工作日。上午8:30-11:30,下午14:00-17:00。
四、报名地址:成都市锦江区静明路377号成都市公共卫生临床医疗中心组织人事部(职工食堂内)
五、报名方式:本人携带以下资料现场报名
1.本人有效身份证原件及复印件;
2.符合岗位需要的毕业证、学位证原件及复印件、学信网电子学历注册备案表;
3.符合岗位需要的其他证书原件及复印件;
4.《应聘人员简历表》纸质版(表格内容不得手填);
六、重要提示
1.每位应聘人员限报一个招聘岗位。
2.工作人员审核原件后,收取《应聘人员简历表》及相关证件复印件。凡资料不全者,审核不合格。
3.报名递交的资料一律不退还,请妥善保管自己原件。
七、其他
本次招聘笔试、面试成绩公布及进入体检人员名单等情况公告,均在官网公布,请应聘人员注意查看,及时关注医院官网发布的后续安排信息,否则视为自动放弃。
联系人:肖老师 咨询电话:028-64369115
附件:1.招聘岗位、人数及应聘条件
成都市公共卫生临床医疗中心
2023年8月18日

*声明:本站发布的招考动态来源于考试官方网站,本站整理编辑,若涉及版权或错误,请联系本站予以更改或删除。点击反馈

关注公众号